ตลอดทศวรรษที่ผ่านมา วิศวกรยานยนต์ไฟฟ้าต้องเผชิญกับทางเลือกที่น่าหนักใจในการสร้าง Traction Inverter อุปกรณ์แปลงกระแสไฟฟ้า DC จากแบตเตอรี่ เป็น AC เพื่อส่งไปยังมอเตอร์ โดยต้องเลือกระหว่างการใช้ Silicon (Si) IGBTs ซึ่งราคาถูก ทนทาน แต่กินไฟ หรือจะเลือกใช้ Silicon Carbide (SiC) MOSFETs ที่ประหยัดพลังงานเป็นเลิศ แต่มีความเปราะบางและราคาสูง ซึ่งรถ EV เกรดพรีเมียมในปัจจุบันรวมถึง Tesla Model 3 และ Model Y ส่วนใหญ่เลือกใช้แบบหลังเพื่อทำระยะทางให้ได้ไกลที่สุด แต่แลกมาด้วยต้นทุนมอเตอร์ที่สูงลิ่ว
Tesla ปฏิวัติวงการ! จดสิทธิบัตร “อินเวอร์เตอร์ไฮบริด” เปลี่ยนการจ่ายไฟให้เหมือนเกียร์ออโต้
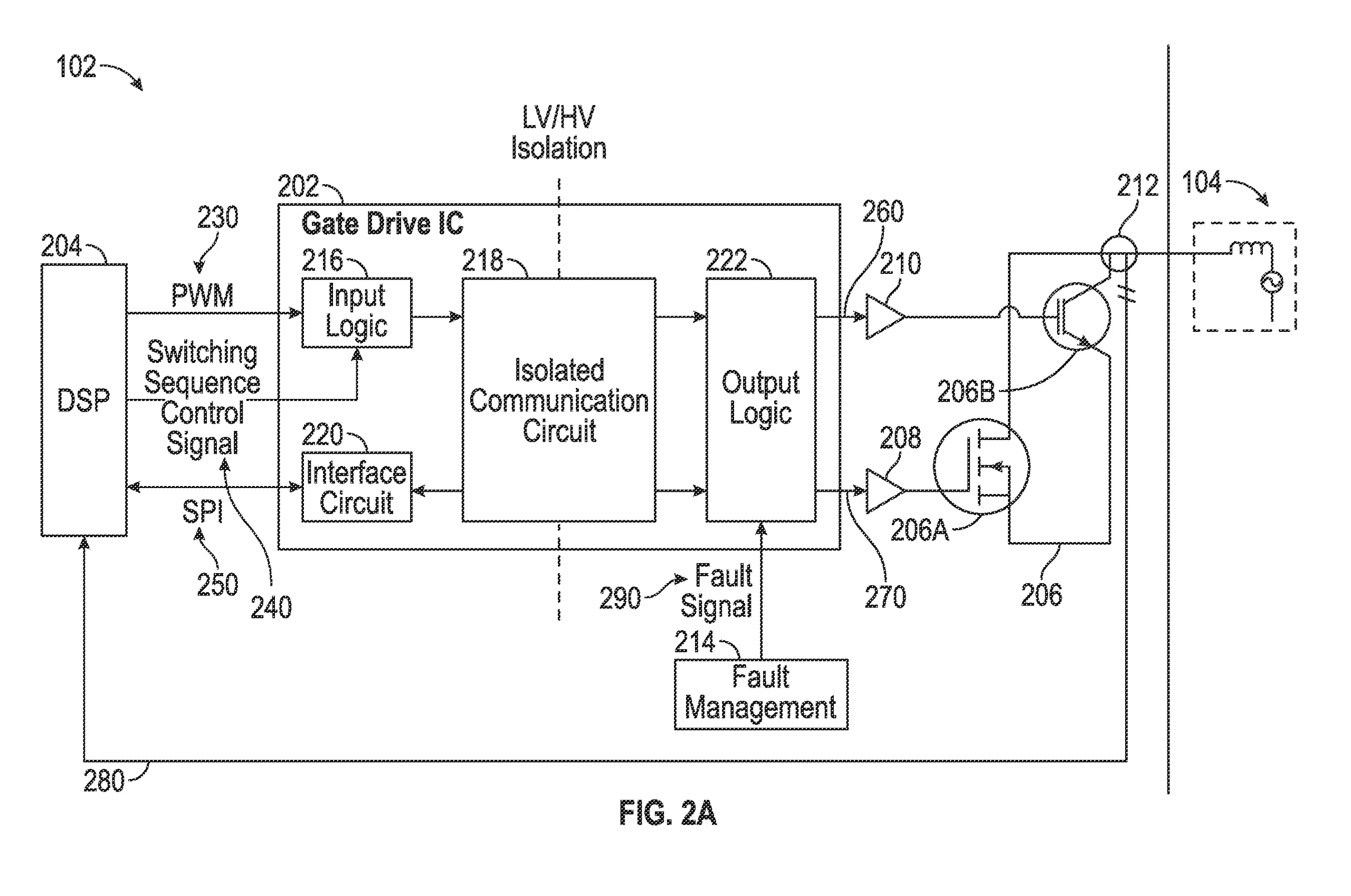
สิทธิบัตรใหม่ของ Tesla ในหัวข้อ Hybrid Traction Inverters for Electric Traction Motors ได้เสนอทางเลือกที่ 3 คือการนำชิปทั้งสองแบบมาใส่ไว้ในกล่องเดียวกัน และสลับการทำงานไปมาแบบเรียลไทม์
ระบบส่งกำลังแบบแปรผัน (Variable Transmission) หัวใจสำคัญของนวัตกรรมนี้คือตัวควบคุมที่ทำงานคล้ายกับเกียร์อัตโนมัติ คอยสลับภาระทางไฟฟ้าไปยังชิปที่เหมาะสมที่สุดในขณะขับขี่

- เกียร์สำหรับการขับขี่ทั่วไป (Cruising) จะใช้ชิป SiC MOSFETs เมื่อขับรถด้วยความเร็วคงที่บนไฮเวย์ ความประหยัดคือสิ่งสำคัญที่สุด ระบบจะเน้นใช้งานชิปตัวนี้ เพื่อรักษาระยะทางวิ่งให้ได้มากที่สุด
- เกียร์สำหรับพละกำลัง (Power) จะใช้ชิป Si IGBTs เมื่อเหยียบคันเร่งจมมิดหรือลากจูงของหนัก ความทนทานสำคัญกว่าความประหยัด ในสถานการณ์ที่ต้องใช้กระแสไฟสูงนี้ ระบบจะสลับไปให้ความสำคัญกับชิป Si IGBTs ซึ่งมีความอึดกว่า ให้รับแรงกระแทกทางไฟฟ้าหนัก ๆ ก่อน เพื่อปกป้องชิป SiC ที่บอบบางกว่า
แม้ประสิทธิภาพจะเป็นเรื่องดี แต่แรงจูงใจหลักของ Tesla คือ “ต้นทุน” ชิป Silicon Carbide (SiC) นั้นแพงกว่าชิป Silicon ธรรมดาอย่างมาก สิทธิบัตรนี้จึงออกแบบโครงสร้างทางกายภาพในอัตราส่วน 2:1 คือใช้ชิป Si IGBTs ราคาถูก 2 ตัว ประกบกับชิป SiC ราคาแพง 1 ตัว

วิธีนี้ทำให้ Tesla ลดขนาดชิปราคาแพงลงได้ แทนที่จะต้องใช้ชิป SiC ขนาดใหญ่เผื่อไว้สำหรับการเร่งความเร็วสูงสุด (ซึ่งเราใช้งานจริงแค่ 1% ของเวลาขับขี่) ก็เปลี่ยนมาใช้ขนาดที่พอเหมาะสำหรับการขับขี่ทั่วไป (ซึ่งใช้งาน 99%) แทน
ส่วนภาระหนัก ๆ ในการออกตัวให้ชิปราคาถูกจัดการ ผลลัพธ์คือระบบขับเคลื่อนรุ่นต่อไปจะมีต้นทุนการผลิตที่ถูกลงมาก แต่ยังทำระยะทางวิ่งได้ใกล้เคียงกับระบบที่ใช้ SiC ล้วน ๆ
ความทนทานและการสำรองระบบ
นอกจากเรื่องเงินแล้ว ความปลอดภัยก็น่าสนใจไม่แพ้กัน มอเตอร์แบบแม่เหล็กถาวร (PM) อย่างที่ใช้ใน Model 3 และ Y จะสร้างแรงดันไฟฟ้าย้อนกลับ (Back EMF) หากมอเตอร์หมุนเร็วเกินไป เช่น กรณีรถชนหรือถูกลากจูง ดีไซน์ใหม่นี้จะใช้ชิป IGBTs ที่ราคาถูกและทนทานกว่าทำหน้าที่เป็นบอดี้การ์ด หากระบบตรวจพบความผิดปกติหรือไฟกระชาก มันจะสั่งลัดวงจรการทำงานแบบปกติทันที เพื่อให้ชิปพันธุ์อึดเหล่านี้รับภาระแทนชิป SiC ช่วยป้องกันความเสียหายและประคองรถให้อยู่รอด
มุมมองเชิงเทคนิค
สำหรับสายวิศวกรรม สิทธิบัตรนี้อธิบายวิธีที่ Tesla จัดการให้เทคโนโลยีที่แตกต่างกันสองอย่างทำงานร่วมกันได้โดยไม่ตีกันเอง กุญแจสำคัญคือกรอบเวลา (Timing Envelope) ชิปทั้งสองชนิดเปิดพร้อมกันไม่ได้ Tesla จึงใช้โปรโตคอลพิเศษสั่งให้สัญญาณของ IGBT ทำงานนำหน้า SiC เล็กน้อย (ประมาณ 100 นาโนวินาที ถึง 10 ไมโครวินาที) ช่วงเวลาสั้น ๆ นี้สร้างเกราะป้องกันให้ชิป Si รับแรงกดดันไปก่อน
นอกจากนี้ การวางตำแหน่งบนแผงวงจรจะให้ SiC อยู่ตรงกลาง ขนาบข้างด้วย Si IGBTs เพื่อสมดุลสนามไฟฟ้าและป้องกันสัญญาณรบกวนแม่เหล็ก
ท้ายที่สุด สิทธิบัตรนี้ไม่ใช่แค่เรื่องประหยัดต้นทุนของ Tesla แต่คือการทลายข้อจำกัดในการออกแบบมอเตอร์ ที่ผ่านมาลูกค้าต้องเลือกระหว่าง ระยะทาง, สมรรถนะ หรือ ราคาที่จับต้องได้ รถที่แรงและวิ่งไกลอย่าง Model S จึงแพงมาก ในขณะที่รถราคาถูกก็ต้องยอมลดระยะทางหรือประสิทธิภาพลง
แต่ดีไซน์ไฮบริดใหม่นี้จะทำให้ Tesla ไม่ต้องแลกด้วยอะไรเลย ซึ่งหมายถึงมอเตอร์ที่ถูกลง รถ EV ที่ราคาถูกลง ความน่าเชื่อถือที่สูงขึ้น โดยที่ยังคงสมรรถนะความแรงและความสนุกในการขับขี่สไตล์ Tesla ไว้ได้เหมือนเดิม
ที่มา notateslaapp
