Porsche จดสิทธิบัตรระบบขับเคลื่อนไฮบริดใหม่ ด้วยมอเตอร์ Axial-Flux ขนาดเล็กแต่แรง เตรียมปฏิวัติรถสปอร์ตในอนาคต
Porsche จดสิทธิบัตร มอเตอร์ Axial-Flux เตรียมใช้ในรถไฮบริด เบา เล็ก แต่แรง!
มอเตอร์ Axial-Flux ถือว่ายังค่อนข้างใหม่สำหรับเทคโนโลยีในตลาดยานยนต์ แต่ ณ ตอนนี้ถือว่าเป็นตัวเลือกที่นิยมมาก ๆ สำหรับรถซุปเปอร์คาร์ขุมพลังไฮบริด ด้วยน้ำหนักที่เบา ขนาดกระทัดรัด และมาพร้อมกับพละกำลังที่แรง ทั้ง Ferrari และ Lamborghini เองก็นำไปใช้งานรุ่นขายจริงแล้ว

Porsche 911 Carerra GTS รุ่นปัจจุบัน (ใช้มอเตอร์ Radial-Flux)
Porsche เตรียมพัฒนาเครื่องยนต์ไฮบริดรุ่นใหม่ สำหรับรถสปอร์ตสมรรถนะสูง
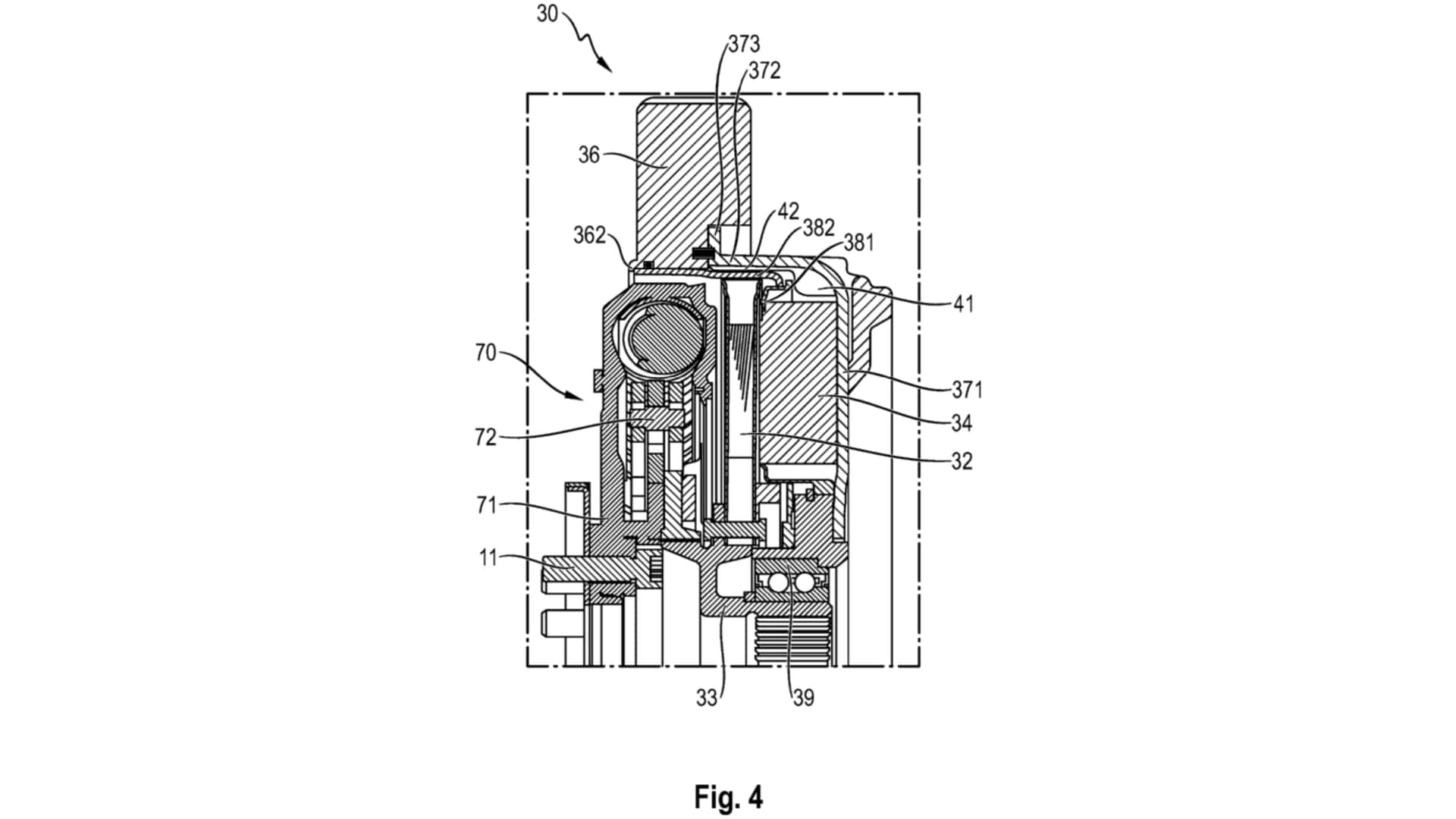
ล่าสุดมีการเปิดเผยข้อมูลจากเอกสารสิทธิบัตรของ Porsche ค้นพบโดย CarBuzz และยื่นจดทะเบียนกับ World Intellectual Property Organization (WIPO) เผยให้เห็นว่า Porsche กำลังพัฒนาระบบขับเคลื่อนไฮบริดแบบใหม่ ผสานระหว่างเครื่องยนต์สันดาป เข้ากับมอเตอร์ไฟฟ้าแบบ Axial-flux ที่มีขนาดเล็กและน้ำหนักเบากว่ามอเตอร์แบบเดิม โดยรับมาจาก YASA ผู้เชี่ยวชาญด้านมอเตอร์ไฟฟ้าสมรรถนะสูง

เอกสารสิทธิบัตรระบุว่าระบบใหม่นี้สามารถใช้ได้กับรถยนต์นั่งทั่วไป แต่ก็มีการพูดถึงว่า “จะนำไปใช้กับรถสปอร์ต” โดยเฉพาะ เป็นสัญญาณชัดเจนว่ามอเตอร์ Axial-Flux นี่มีสิทธิ์นำไปใช้ในรถตระกูล 911 หรือรุ่นสมรรถนะสูงอื่น ๆ ของ Porsche
ออกแบบให้บาง เบา และไม่กระทบสมดุลของรถ
แทน Porsche จะติดตั้งมอเตอร์ไฟฟ้าแบบ Radial-flux (ที่ใช้ใน 911 Carrera GTS รุ่นปัจจุบัน) ภายในเกียร์ PDK, Porsche จะเปลี่ยนมาใช้มอเตอร์แบบ Axial-flux หน้าตาแบบแผ่นดิสก์บาง ๆ ติดตั้งอยู่ระหว่างเครื่องยนต์ และเกียร์

ด้วยความบางเพียง 3.1 นิ้ว (ประมาณ 7.8 เซนติเมตร) ในการใช้งานจริง ทำให้มอเตอร์นี้ไม่เพิ่มความยาวให้กับระบบขับเคลื่อน ทำให้สามารถคงการวางเครื่องยนต์แ ละมอเตอร์ไว้ด้านหลังผู้ขับขี่ได้ โดยไม่กระทบต่อการกระจายน้ำหนักของรถ

ระบบนี้จะทำงานร่วมกับเกียร์ Dual-clutch สามารถใช้ได้ทั้งเครื่องยนต์วางกลาง (Mid-engine) และวางท้าย (Rear-engine) โดยเครื่องยนต์จะถูกติดตั้งในแนวยาว และจับคู่กับเกียร์แบบขวาง ทั้งนี้ในสิทธิบัตรไม่ได้ระบุว่าระบบนี้จะสามารถใช้งานร่วมกับเกียร์ธรรมดาได้หรือไม่

ระบบระบายความร้อนใหม่ ลดความร้อนสะสม เพิ่มประสิทธิภาพ
นอกจากนี้ การออกแบบยังช่วยลดความร้อนสะสมในระบบ โดยสิทธิบัตรระบุว่ามีการใช้ “ห้องระบายอากาศแบบถ้วย หรือระฆัง (Cup-shaped or bell-shaped permeable chamber)” เพื่อให้ทั้งมอเตอร์ไฟฟ้า. และเครื่องยนต์ได้รับการระบายความร้อนอย่างมีประสิทธิภาพมากขึ้น
อาจแรงทะลุ 800 แรงม้า
แม้ยังไม่มีข้อมูลอย่างเป็นทางการจาก Porsche แต่จากตัวเลขของมอเตอร์ YASA ที่ได้นำไปใช้จริง มีพละกำลังมากกว่า 470 แรงม้า และแรงบิดกว่า 800 นิวตันเมตร เฉพาะมอเตอร์ตัวเดียวแบบแรงที่สุด
ตัวอย่างใน Ferrari SF90 ใช้มอเตอร์ Axial-Flux (จาก YASA) 3 ตัว พละกำลังไฟฟ้า 217 แรงม้า ส่วน Lamborghini Revuelto ใช้มอเตอร์ 2 ตัว พละกำลัง 296 แรงม้า หากรวมกับเครื่อง V8 และ V12 ทำให้รถทั้ง 2 รุ่นมีพละกำลังสูงกว่า 1,000 แรงม้า

Porsche 911 Carrera GTS ไฮบริดรุ่นปัจจุบันใช้มอเตอร์ไฟฟ้าพละกำลังเพียง 54 แรงม้า และแรงบิด 149 นิวตันเมตร หากรวมกับเครื่องยนต์ 6 สูบ ทำให้ได้กำลังรวม 532 แรงม้า และแรงบิด 607 นิวตันเมตร

หาก Porsche มอเตอร์ Axial-flux รุ่นใหม่ จับคู่กับเครื่องยนต์ 3.6 ลิตร เทอร์โบชาร์จ ผ่านการอัปเกรดกำลังรวมอาจทะลุ 800–900 แรงม้า ถือว่าแรงสะใจเหมาะกับตระกูล GT2, GT3 หรือแม้แต่ไฮเปอร์คาร์รุ่นใหม่ของ Porsche ที่อาจเปิดตัวในอนาคตก็เหมาะสมเช่นกัน

แม้ในตอนนี้จะยังไม่มีข้อมูลอย่างเป็นทางการเกี่ยวกับวันเปิดตัวหรือรุ่นที่จะได้ใช้เทคโนโลยีใหม่นี้ก่อน แต่สิทธิบัตรก็ชี้ให้เห็นถึงทิศทางการพัฒนาเทคโนโลยีของ Porsche ที่มุ่งผสมผสานพลังของเครื่องยนต์สันดาป และระบบไฟฟ้าเข้าด้วยกัน เพื่อสร้างสมดุลระหว่างสมรรถนะ ความแรง และความประหยัดในรถสปอร์ตยุคต่อไปอย่างสมบูรณ์แบบ
ที่มา : Motor1
